Wireless Audio Design Alternatives Balance Receiver Range, Sound Quality
投稿人:电子产品
2012-06-28
Market demand for greater mobility has resulted in the migration of traditional wired audio entertainment products to wireless. As product manufacturers look to cut the cord on entertainment electronics, engineers face significant challenges in maintaining signal range, sound quality, and maximum play time for battery-powered wireless audio designs. To meet these requirements, engineers can draw on a wealth of available products from multiple manufacturers, including (alphabetically) Analog Devices, Cirrus Logic, CSR, Freescale Semiconductor, Linear Technology, Linx Technologies, Maxim Integrated Products, Microchip Technology, NXP Semiconductors, Quickfilter Technologies, and Texas Instruments, among many others.
In a typical wireless entertainment system (Figure 1), the source signal is transmitted through a wireless RF interface with optional range extender to a player system such as a stereo headset or speaker. Within the player, a corresponding wireless RF interface receives the signal for processing by a codec, audio processor, or DSP to create the final analog signal driven to the speaker. An appropriate power supply, typically comprising a battery and charge management circuitry, completes the system.

Figure 1: A typical wireless audio system depends on reliable wireless communications between transmitter and receiver, as well as efficient audio processing at the receiving end. (Courtesy of Texas Instruments.)
In creating a wireless entertainment design, engineers face particular challenges in both wireless communications and audio processing. Reliable RF communications with high throughput and signal integrity is vital for ensuring an uninterrupted audio experience for the user even at extended ranges from the audio source. At the same time, robust audio signal processing is essential for maintaining audio fidelity and delivering the range of audio features expected in the marketplace. Available integrated solutions targeted for each of these subsystems can help engineers meet these requirements while reducing design complexity and cost.
Frequency band
Legacy issues, market acceptance, and availability of unlicensed bandwidth typically drive the choice of the radio communications frequency. At the same time, meeting requirements for increased range of operation and long play battery life sets boundaries on the useful frequency bands.
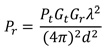
The need for increased power is a natural consequence of the desire for longer range operation, but the choice of RF wavelength plays a critical role in balancing range and power. The relationship between RF wavelength and range is described in the Friis transmission equation:
Where
Pt = transmitted power
Pr = received power
Gt = transmitter antenna gain
Gr = receiver antenna gain
λ = wavelength
d = distance between transmitter and receiver
For unity parameters, distance becomes a simple linear function of wavelength, so radio communications at longer wavelengths equate to greater range. Of course, longer wavelength bands face issues including interference and payload bandwidth. In this context, the 2.4 GHz ISM band offers a good balance between practical range limits and useful bandwidth.
The 2.4 GHz solutions are attractive for their ability to provide a useful effective range at low power, as well as for their global availability. Used in standards such as Bluetooth, 2.4 GHz designs based on frequency-hopping spread spectrum (FHSS) offer the advantage of remaining relatively immune to interfering signals in highly active radio environments. These systems also provide sufficient data bandwidth to permit digital transmission of high-quality stereo sound compared to lower ISM bands, which are typically limited to analog or lower data rate digital audio.
Operating at 2.4 GHz, the Bluetooth standard is a natural fit for consumer connectivity requirements. Its widespread use makes it likely that a wireless audio player based on Bluetooth will find compatible audio hosts such as computers, notebooks, tablets, and smartphones. Using Bluetooth, however, requires use of data throughput rates supported with Classic Bluetooth or Bluetooth Smart Ready devices that operate in dual mode, supporting both Classic Bluetooth and low-bandwidth Bluetooth Low Energy (LE). Meant for brief bursts of data from low-power devices, Bluetooth LE is not intended to provide sustained data streaming of the sort supported in Classic Bluetooth and required in wireless digital audio.
Engineers can implement Classic Bluetooth by running appropriately configured Bluetooth software stacks on embedded processors such as those in the Freescale Semiconductor Kinetis family, Microchip Technology PIC24 family, and Texas Instruments Stellaris family, among many others. This embedded software approach delivers various Bluetooth services including Advanced Audio Distribution Profile (A2DP), which provides a standard for streaming stereo audio. A familiar option in most Classic Bluetooth devices, A2DP delivers audio considered psycho-acoustically acceptable to most listeners.
Besides general-purpose embedded processor solutions, specialized devices such as the CSR BC57G687C integrate audio signal circuitry to reduce component count and improve power efficiency. A member of the CSR BlueCore5-Multimedia family, the BC57G687C, combines a Bluetooth stack 16-bit RISC MCU with the Kalimba 64 MIPS 24-bit DSP coprocessor and on-chip memory (Figure 2). The device's Bluetooth modem rounds out this wireless solution.

Sub-GHz alternatives
Bluetooth's ubiquity and familiarity to users and most designers gives it distinct advantages as a solution for wireless audio. Yet standards such as Bluetooth, meant to support connectivity between arbitrary products, impose overhead in communications to ensure authorized, reliable communications between heterogeneous wireless nodes. For engineers looking for greater range or greater audio throughput, other options offer their own advantages.
Although the first choice is often 2.4 or 5.8 GHz ISM bands, sub-GHz bands remain a viable option. Improvements in modulation technologies have hardened immunity to interference and relaxed problems of coexistence found in earlier sub-GHz approaches. Most of all, use of sub-GHz ISM bands means wider range and lower power requirements, both of which are of course central concerns in wireless audio designs.
As the Friis equation shows, lower-frequency signals translate into correspondingly longer range. With this view, sub-GHz wireless communications remains attractive for applications where maximum range is the first concern and audio requirements are less intensive.
For example, Linx Technologies cites a 1,000 ft. range for communications between its TXM-900-HP3 transmitter module and RXM-900-HP3 receiver module. Designed as a drop-in solution for wireless applications, the modules require only an antenna to complete a 900 MHz multichannel RF design capable of transmitting both analog FM and digital FSK information. The TXM-900-HP3 transmitter uses its precision 12 MHz voltage-controlled crystal oscillator (VCXO) to drive a PLL to form a frequency synthesizer managed by the on-board microcontroller, permitting software-based channel selection (Figure 3). A complementary receiver block in the RXM-900-HP3 demodulates the signal to deliver analog and digital data, along with an RSSI value that can be used in a range-display indicator for the user.

Engineers can also find a variety of RF ICs to build custom wireless audio solutions operating in the 900 MHz band. For example, the Analog Devices ADF7025 is an ISM transceiver IC operating in multiple bands including the 900 MHz ISM band. The ADF7025 includes an on-chip ADC, which eliminates the need for a separate ADC to acquire basic data such as temperature, battery state or RSSI. As a result, the device requires only a few external components to provide a cost-effective solution. Furthermore, engineers can tune the device to balance power and sensitivity requirements. The ADF7025's signal chain includes multiple programmable options for receiver linearity, sensitivity, and filter bandwidth (Figure 4).

Propriety 2.4-GHz solutions
While Classic Bluetooth offers ubiquity and sub-GHz offers extended range, the use of 2.4 GHz ISM with proprietary communications protocols opens the door to the highest-quality multichannel audio at acceptable ranges and power. With their lightweight, application-specific stacks, proprietary protocols reduce overhead and conserve maximum bandwidth for the payload. On the other hand, proprietary protocols also mean that bridge devices are needed at the host as well. For wireless audio systems, however, specialized bridge devices can simply be built into player devices and a host "console" unit, which might in any event be used for user displays of speaker status, for example.
Designed specifically for wireless streaming of high-quality multichannel audio, the Texas Instrument PurePath Wireless platform uses this proprietary approach in its set of transceivers and range extenders. TI PurePath devices include the two-channel CC8520 and four-channel CC8530 as well as CC8521 and CC8531 versions, which additionally provide USB audio support. The CC85xx SoCs integrate the complete signal path from RF to digital output, enabling engineers to build wireless audio designs with few additional components (Figure 5).

The PurePath system takes full advantage of the flexibility of proprietary protocols to deliver 16-bit 44.1 or 48 kHz uncompressed audio with no unwanted noise or dropouts. To protect against audio problems from RF interference or multipath fading effects, the system allows engineers to configure audio latency for each individual sample rate to values between 768 and 2,048 samples. This audio latency results in a systematic delay in the audio stream that allows identification and retransmission of data that cannot be otherwise corrected through the system's built-in interpolation algorithm.
Along with an adaptive listen-before-talk mechanism, the PurePath platform uses a proprietary frequency-hopping scheme to enhance the system's ability to coexist with other 2.4 GHz sources in active environments. With this scheme, the on-chip controller can dynamically switch to clearer RF channels within tens of milliseconds. In this approach, the device splits the 2.4 GHz band into 18 RF channels, using the four best channels at any time for active transmission. During actual transmission using the four active channels, the device also sweeps through each of the 14 inactive channels, calculating a quality-of-service (QoS) estimate for each, and replacing any active channel with any channel that shows a higher QoS.
For further improvements in signal quality and range, engineers can leverage the CC85xx's antenna diversity capability. Here, the device uses an external antenna switch to switch dynamically between two antennas to reduce multipath fading effects. In addition, engineers can design in the optional CC2590 range extender, which includes a PA for higher transmitter output and LNA for greater receiver sensitivity.
Along with associated software, the PurePath platform includes the PurePath Wireless Configurator, a free PC-based software tool for configuring the device's operating parameters. TI also offers a USB dongle reference design (for CC85x1), as well as a wireless headset reference design that achieves a 22 hour life on a 465 mAh battery.
Audio processors
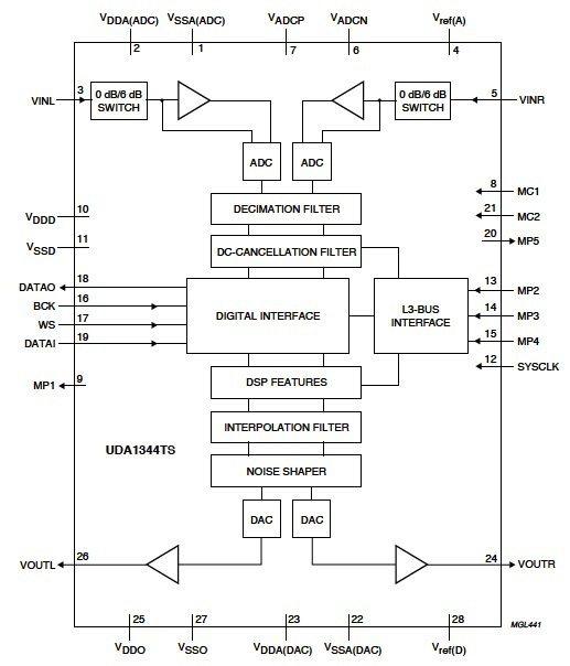
For enhanced audio effects and sound quality, the final stage in a wireless audio system typically calls for some amount of signal processing. Here, engineers can opt for devices ranging from relatively simple codec devices to complete audio processing SoCs. Codecs such as the Analog Devices AD1835A, Cirrus Logic CS4265, NXP UDA1344TS, and Texas Instruments TLV320AIC3204, among many others, offer low-power signal processing and audio effects for a broad range of audio channels and sample rates. For example, the NXP UDA1344TS audio-processing pipeline (Figure 6) supports multiple playback features including de-emphasis, volume control, bass boost, treble, and soft mute.

For more extensive signal processing and special audio effects, engineers can incorporate audio processors such as the Analog Devices ADAU1702, Cirrus Logic CS47048, and Quickfilter QF3DFX, among many others. Devices in this class provide complete audio-system-on-a-chip solutions with high-resolution ADCs, DACs, DSPs, and controllers. For example, the Quickfilter QF3DFX audio processor SoC provides a comprehensive audio processing pipeline (Figure 7) that allows audio engineers to support a broad range of psychoacoustic effects ranging from high-frequency restoration (HFR) to spatial effects and virtual bass effects. Capable of operating without a microcontroller, the QF3DFX is self-booting and additionally helps conserve power in battery operating systems by powering down when audio is not present, requiring only about 50 µW in standby mode.

Battery management
In any low-voltage battery-powered design, protection from battery faults including undervoltage, overcurrent, and overtemperature are vital for system operation and product life time. For wireless audio equipment, where extended battery life is critical for consumer satisfaction, battery charge management plays a key role.
Engineers can find a wide range of capabilities and options in battery charge management devices including the Analog Devices ADP2291, Linear Technology LTC1734, and Maxim Integrated Products MAX1501, among a wide range of alternatives.
Devices in this class serve as constant-current/constant-voltage charge controllers and offer a myriad of additional features. The Analog Devices ADP2291 supports multistep charging modes from deep discharge to trickle charge, with a full range of protection features including stop charging mode if battery faults are detected. The Linear Technology LTC1734 not only directly charges Li-ion batteries but also can serve as a current source for charging nickel-cadmium (NiCd) and nickel-metal-hydride (NiMH) batteries, and in shutdown and sleep modes, consumes near zero power. The Maxim MAX1501 integrates the typical current-sense resistor, pass transistor, and thermal-regulation circuitry to offer a very simple solution for Li-ion, NiCd, and NiMH battery charging (Figure 8).

Conclusions
For consumers, operating range and extended battery time is simply a given for portable products, and wireless audio products that stop playing at a shorter range or in less time than expected soon find themselves on the return shelves. For engineers, meeting audio feature requirements while delivering maximum operating range and extended play time is a continual challenge. Addressing these issues requires optimizing frequency band, communications protocol, and audio processing capabilities. Fortunately, a wide range of IC devices and drop-in modules provides the necessary building blocks for effectively meeting wireless communications, audio processing, and battery management requirements.
免责声明:各个作者和/或论坛参与者在本网站发表的观点、看法和意见不代表 DigiKey 的观点、看法和意见,也不代表 DigiKey 官方政策。




