Orders are typically delivered to Singapore within 3 days depending on location.
Free delivery to Singapore on orders of $50 USD or more. A delivery charge of $20 USD will be billed on all orders less than $50 USD.
UPS, FedEx or DHL freight pre-paid: CPT (Duty, customs, and taxes due at time of delivery)
Credit account for qualified institutions and businesses
Payment in Advance by Wire Transfer
![]()
![]()
![]()
![]()
![]()


More Products From Fully Authorized Partners
Average Time to Ship 1-3 Days, extra ship charges may apply. Please see product page, cart, and checkout for actual ship speed.
Incoterms: CPT (Duty, customs, and applicable VAT/Tax due at time of delivery)
For more information visit Help & Support
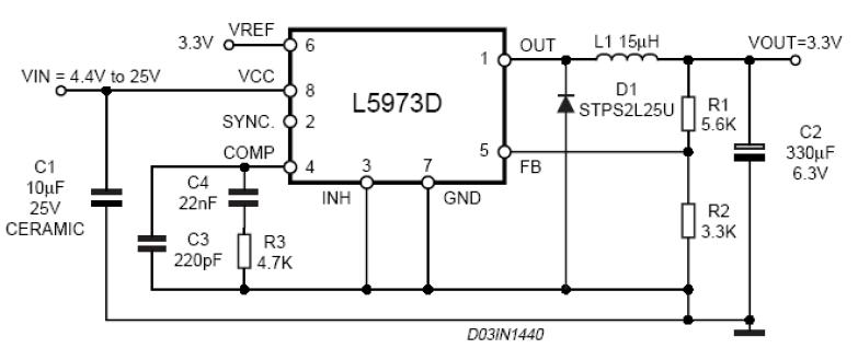
The L5973D is a step down monolithic power switching regulator capable to deliver up to 2.5 A at output voltages from 1.235 V to 35 V. The operating input voltage ranges from 4.4 V to 36 V. It is realized in BCDV technology and the power switching element is realised by a P-Channel D-MOS transistor. It doesn’t require a bootstrap capacitor, and the duty cycle can range up to 100%.
An internal oscillator fixes the switching frequency at 250 KHz. This minimizes the LC output filter. Synchronization pin is available in the case higher frequency (up to 500 KHz) is requested.
Pulse by pulse and frequency foldback overcurrent protections offer an effective short circuit protection. Other features are voltage feed forward, protection against feedback disconnection, inhibit and thermal shutdown.
The device is housed in an HSOP8 package with exposed pad that helps to reduce the thermal resistance Jiunction to Ambient (RThj-a) down to approximately 40 °C/W.
| Manufacturer | STMicroelectronics |
|---|---|
| Category | AC/DC and DC/DC Conversion |
| Sub-Category | DC/DC SMPS - Single Output |
| Eval Board Part Number | 497-4134-ND |
| Eval Board Supplier | STMicroelectronics |
| Eval Board |
Board not Stocked
|
| Topology |
Step Down
|
| Outputs and Type |
1 Non-Isolated
|
| Voltage Out: Factory Set |
3.3 V
|
| Current Out |
2 A
|
| Voltage In |
4.4 ~ 36 V
|
| Efficiency @ Conditions |
>85%, 12V in, 5V @ 0.2 ~ 2 A
>81%, 5V in, 3.3V @ 100 mA ~ 2 A >79%, 12V in, 3.3V @ 200 mA ~ 2 A >77%, 5V in, 2.5V @ 100 mA ~ 2 A >75%, 12V in, 2.5V @ 200 mA ~ 2 A >71%, 5V in, 1.8V @ 100 mA ~ 2 A |
| Voltage Out Range |
1.25 ~ Vin
|
| Features |
Over Current Protection
Short Circuit Protection Shutdown, Enable, Standby Synchronizable Thermal Protection |
| Switching Frequency |
250 kHz
|
| Standby Current [Typical] |
80 µA
|
| Quiescent Current [Typical] |
3 mA
|
| Component Count + Extras |
9 + 3
|
| Internal Switch |
Yes
|
| Design Author |
STMicroelectronics
|
| Application / Target Market |
Computers
DVD/Blu-ray Players Point of Load (PoL) Set-Top Boxes Telecom |
| Standby Current [Maximum] |
150 µA
|
| Quiescent Current [Maximum] |
5 mA
|
| Main I.C. Base Part |
L5973D
|
| Date Created By Author | |
| Date Added To Library | 2011-03 |
Co-Browse
By using the Co-Browse feature, you are agreeing to allow a support representative from DigiKey to view your browser remotely. When the Co-Browse window opens, give the session ID that is located in the toolbar to the representative.
DigiKey respects your right to privacy. For more information please see our Privacy Notice and Cookie Notice.
Yes, Continue to Co-BrowseGet fast and accurate answers from DigiKey's Technicians and Experienced Engineers on our TechForum.
Please visit the Help & Support area of our website to find information regarding ordering, shipping, delivery and more.
Registered users can track orders from their account dropdown, or click here. *Order Status may take 12 hours to update after initial order is placed.
Users can begin the returns process by starting with our Returns Page.
Quotes can be created by registered users in myLists.
Visit the Registration Page and enter the required information. You will receive an email confirmation when your registration is complete.
Orders are typically delivered to Singapore within 3 days depending on location.
Free delivery to Singapore on orders of $50 USD or more. A delivery charge of $20 USD will be billed on all orders less than $50 USD.
UPS, FedEx or DHL freight pre-paid: CPT (Duty, customs, and taxes due at time of delivery)
Credit account for qualified institutions and businesses
Payment in Advance by Wire Transfer
![]()
![]()
![]()
![]()
![]()


More Products From Fully Authorized Partners
Average Time to Ship 1-3 Days, extra ship charges may apply. Please see product page, cart, and checkout for actual ship speed.
Incoterms: CPT (Duty, customs, and applicable VAT/Tax due at time of delivery)
For more information visit Help & Support
Thank you!
Keep an eye on your inbox for news and updates from DigiKey!
Please enter an email address