红外温度传感器设计选型难不难?看了这篇设计攻略,就不难!
红外温度传感不用接触物体便可测温,因此被广泛应用于医疗、工业等领域。红外温度传感具体该如何设计和选型?希望读完本文,能给大家一些启示。
红外温度传感器设计很难吗?
可以很简单。对于一些数字输出红外温度传感器,很多非接触红外温度传感器厂家,出厂前都已经帮你校准好了精度。我们只要找一颗MCU通过I2C读取RAM里的信息就可以了。有些芯片还会给出调用红外温度传感器的样例程序。比如Melexis MLX90632, 在Git-Hub给出了MCU STM32F070样例程序,这进一步简化了软件设计的难度。从而我们可以把更多的精力放到如何减少不必要的噪声,以及提高测量精度上面来。
现在全球范围内红外温度传感器缺货的背景下,DigiKey提供广泛的DigiKey红外温度传感器,供开发者选择。
红外温度传感器选型要点
选好红外温度传感器是设计成功的第一步。
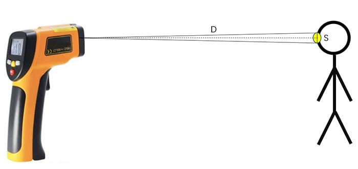
- 距离系数
红外温度传感器的测温距离多远?单是这么问,不够准确。可以把红外温传感器想象成一双眼睛。如果物体很大,即使很远,我们也能看见。所以更准确的衡量标准是 “距离系数(D:S)”,即传感器到目标的距离D与在该距离下测温仪测量区域直径S的比值。

一般来说,红外温度传感器测试到的是测试范围内的温度平均值。因此,为了保证测量效果,尽量使测试目标大于测试范围。

- 如何计算距离系数
一般温度传感器都会给出视场角(FOV,field of view)这个参数,即红外传感器能“看”到的范围。以Melexis MLX90632SLD-DCB-000-RE为例子,以信号敏感度50%时作为测量标准,FOV为50°,即可推算出距离系数比值。D : S =1 : 2tan25

DigiKey网站提供详细红外温度传感器的参数可供筛选。在DigiKey温度传感器这个大类下面,传感器类型选择“数字,红外(IR)”,“模拟,红外(IR)”,即可得到相应结果。

筛选过程中还有几个比较重要的参数,如“检测温度-远程”、“电源-电压”、“分辨率”、“输出类型”、“精度”等。其中,“精度”这个参数要特别小心。推荐仔细阅读数据手册。有些红外温度传感器,会对某些特殊应用中特殊温度段做调整。
比如,Melexis Technologies NV MLX90632SLD-DCB-000-RE,精度±0.2°C,这个是针对医疗领域,体温这个温度段做的调整。

设计技巧
保证红外温度传感器器件周边温度稳定与相应的温度补偿,往往是设计的重中之重。红外温度传感器内部结构一般都是大量的热电偶堆集在底层的硅基上。而热电偶冷端的温度变化直接影响测试精度。因此,尽量让红外温度传感器远离理热源,比如发热的电源芯片,保证红外温度传感器周边的温度稳定。
- 热噪声
我们常常可以看见直插型的红外温度传感器都会有一个金属外壳,这个的主要作用是为了减少热噪声。没有这个外壳的话,空气的流动带来的热噪声,可能就会影响精度。因此,对于某些特殊应用,设计建议如下:
- 在金属外壳外面再套一个金属外壳来减少热噪声。
- 空气是很好的隔热材料,在金属外壳和塑料盖之间留一定的间隙。
- 尽量杜绝PCB板上的热传导,比如在芯片周围去除不必要的PCB板材来减少热传导路径。
(以上图片与建议来源于Melexis 红外温度传感器热与机械设计)
- 热梯度与热源方向
有些红外温度传感器会做温度补偿功能,来达到降噪的目的。如Melexis MLX90614 会对热梯度做出补偿,这时就要特别留意热源的方向,以及红外温度传感器的放置方向。根据应用手册的要求设计,才能正在发挥温度补偿的功能。
(以上图片与建议来源于Melexis 红外温度传感器热与机械设计)
本文小结
作为测温枪中的核心部件,选好红外温度传感器是设计成功的第一步。深入了解红外传感器,围绕其进行设计,才能事半功倍。
更多有关红外传感器的技术信息, 请参阅:
Have questions or comments? Continue the conversation on TechForum, Digi-Key's online community and technical resource.
Visit TechForum




