CC2510Fx,CC2511Fx Datasheet by Texas Instruments
um -.-w-|—.
I H
TEXAS
INSTRUMENTS
TEXAS
INSTRUMENTS
TEXAS
INSTRUMENTS
TEXAS
INSTRUMENTS
TExAs
INSTRUMENTS
TExAs
INSTRUMENTS
TEXAS
INSTRUMENTS
’ TEXAS
INSTRUMENTS
i TEXAS
INSTRUM ENTS
’ TEXAS
INSTRUM ENTS
’ TEXAS
INSTRUM ENTS
TEXAS
INSTRUMENTS
’ TEXAS
INSTRUM ENTS
i TEXAS
INSTRUM ENTS
’ TEXAS
INSTRUMENTS
i TEXAS
INSTRUM ENTS
’ TEXAS
INSTRUM ENTS
i TEXAS
INSTRUM ENTS
i TEXAS
INSTRUM ENTS
i TEXAS
INSTRUM ENTS
’ TEXAS
INSTRUMENTS
’ TEXAS
INSTRUMENTS
’ TEXAS
INSTRUMENTS
j
AT
’ TEXAS
INSTRUMENTS
’ TEXAS
INSTRUM ENTS
TExAs
INSTRUMENTS
i TEXAS
INSTRUM ENTS
TExAs
INSTRUMENTS
i TEXAS
INSTRUM ENTS
LTA‘ on 5va voUAGE I vommsv;
2 mums»:
mm E—> Risa! e wucnomnuzn ( J ”CW"
H
A \17,’
A—A
< umnzn="" nu="" ,—‘)="" texas="" le'rruments="" .="" p="" :2="" 22="">
(—
a
2
g a mafia... (”
g a . nscnmwn w »
u
a
g A) 4—}
a f 3
V—V
“SARI“ w
(—) (fl)
u
(_> usARn (n)
H mm C}
YIMER nun Inc Ylmu) C)
(_> "Iran-am
(_) "mu-4,.»
) Funk cm
‘v
1_> ..
K/ C
mmmmm
HI 1 J |
mm mm ImEIrAc:
i ii; iii“
m m g mm 2
4‘4‘xL4/xb
l YHNISMW
nzcswz I
own cum
rnzauzucv
stmEsIzER
A
FRAME comm
.ANALOG
Mg .M‘XED
(r1): navy-nan
" J
mmmwm
From ’1
« cons 1,1;
(/ USBEUSV "S! W
““5 V mu 3 “may , w.
7|:< arbiiraior="" 2,="" ,="" wm="" ;="" w.="">
TExAs
INSTRUMENTS
TExAs
INSTRUMENTS
‘ TEXAS
INSTRUMENTS
belore using the radio.
TExAs
INSTRUMENTS
l i
T
L hczm \
E‘HCZG! ‘
T H _L
, .
If : ,
HI‘
WW
{a TEXAS
INSTRUMENTS
TExAs
INSTRUMENTS
TEXAS
INSTRUM ENTS
’ TEXAS
INSTRUMENTS
TExAs
INSTRUMENTS
’ TEXAS
INSTRUMENTS
’ TEXAS
INSTRUMENTS
TEXAS
INSTRUMENTS
i TEXAS
INSTRUM ENTS
i TEXAS
INSTRUM ENTS
i TEXAS
INSTRUM ENTS
i TEXAS
INSTRUM ENTS
i TEXAS
INSTRUM ENTS
i TEXAS
INSTRUM ENTS
i TEXAS
INSTRUM ENTS
i TEXAS
INSTRUM ENTS
’ TEXAS
INSTRUM ENTS
’ TEXAS
INSTRUM ENTS
i TEXAS
INSTRUM ENTS
i TEXAS
INSTRUM ENTS
i TEXAS
INSTRUM ENTS
TExAs
INSTRUMENTS
TEXAS
INSTRUM ENTS
i TEXAS
INSTRUM ENTS
’ TEXAS
INSTRUMENTS
’ TEXAS
INSTRUMENTS
TEXAS
INSTRUM ENTS
’ TEXAS
INSTRUM ENTS
’ TEXAS
INSTRUMENTS
’ TEXAS
INSTRUM ENTS
’ TEXAS
INSTRUM ENTS
’ TEXAS
INSTRUMENTS
WWW
’ TEXAS
INSTRUMENTS
TExAs
INSTRUMENTS
’ TEXAS
INSTRUM ENTS
TExAs
INSTRUMENTS
TExAs
INSTRUMENTS
TExAs
INSTRUMENTS
TExAs
INSTRUMENTS
TExAs
INSTRUMENTS
’ TEXAS
INSTRUMENTS
before using the radio.
TExAs
INSTRUMENTS
TExAs
INSTRUMENTS
’ TEXAS
INSTRUM ENTS
’ TEXAS
INSTRUMENTS
’ TEXAS
INSTRUMENTS
TExAs
INSTRUMENTS
’ TEXAS
INSTRUMENTS
’ TEXAS
INSTRUMENTS
TExAs
INSTRUMENTS
16 m
i TEXAS
INSTRUM ENTS
capabilities.
’ TEXAS
INSTRUMENTS
TExAs
INSTRUMENTS
i TEXAS
INSTRUM ENTS
TExAs
INSTRUMENTS
’ TEXAS
INSTRUMENTS
i TEXAS
INSTRUM ENTS
’ TEXAS
INSTRUM ENTS
’ TEXAS
INSTRUMENTS
i TEXAS
INSTRUM ENTS
i TEXAS
INSTRUM ENTS
’ TEXAS
INSTRUM ENTS
TExAs
INSTRUMENTS
TEXAS
INSTRUMENTS
TExAs
INSTRUMENTS
n< ’="" texas="" instruments="">
TExAs
INSTRUMENTS
’ TEXAS
INSTRUM ENTS
’ TEXAS
INSTRUM ENTS
’ TEXAS
INSTRUM ENTS
i TEXAS
INSTRUM ENTS
i TEXAS
INSTRUM ENTS
’ TEXAS
INSTRUM ENTS
’ TEXAS
INSTRUMENTS
*1, TEXAS
INSTRUMENTS
TExAs
INSTRUMENTS
Q TEXAS
INSTRUMENTS
{If TEXAS
INSTRUMENTS
L___
TExAs
INSTRUMENTS
TEXAS
INSTRUMENTS
TExAs
INSTRUMENTS
i TEXAS
INSTRUM ENTS
i TEXAS
INSTRUM ENTS
cw:
i TEXAS
INSTRUM ENTS
i TEXAS
INSTRUM ENTS
TExAs
INSTRUMENTS
’ TEXAS
INSTRUM ENTS
TExAs
INSTRUMENTS
TExAs
INSTRUMENTS
i TEXAS
INSTRUM ENTS
’ TEXAS
INSTRUMENTS
*1, TEXAS
INSTRUMENTS
‘ TEXAS
INSTRUMENTS
TExAs
INSTRUMENTS
’ TEXAS
INSTRUMENTS
’ TEXAS
INSTRUM ENTS
i TEXAS
INSTRUM ENTS
’ TEXAS
INSTRUMENTS
’ TEXAS
INSTRUM ENTS
’ TEXAS
INSTRUM ENTS
’ TEXAS
INSTRUMENTS
TExAs
INSTRUMENTS
TExAs
INSTRUMENTS
‘ TEXAS
INSTRUMENTS
i TEXAS
INSTRUM ENTS
’ TEXAS
INSTRUMENTS
’ TEXAS
INSTRUMENTS
X +X +X +1
ylx—DefiHHHHHHfi/‘fi‘W
‘ TEXAS
INSTRUMENTS
’ TEXAS
INSTRUMENTS
TEXAS
INSTRUMENTS
i TEXAS
INSTRUM ENTS
TEXAS
INSTRUMENTS
TEXAS
INSTRUM ENTS
TEXAS
INSTRUMENTS
TEXAS
INSTRUMENTS
g7
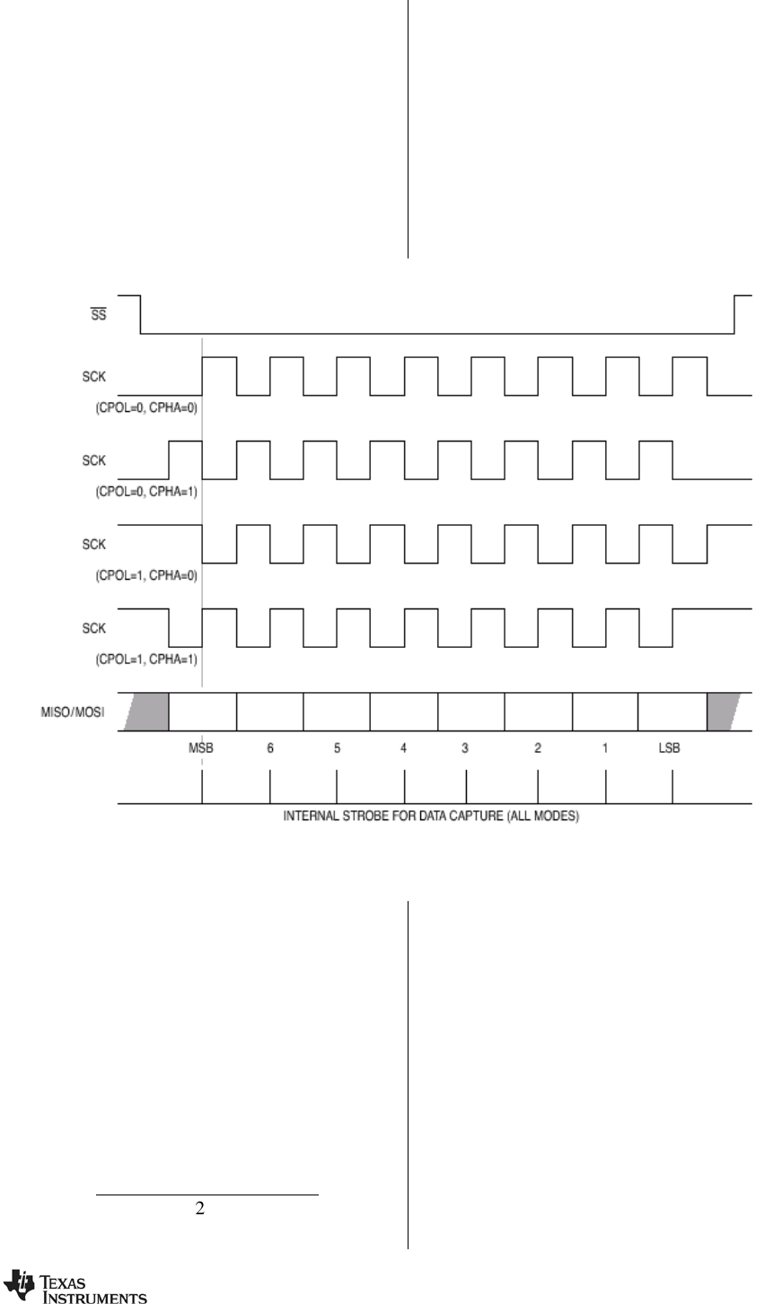
SCK
[CPOL-O. {INA-0]
SCK
{CPOL-O. OPRA- I]
SCK
IoPom. Gnu-o]
SCK
{GPOL-L CPHA-l]
wsomosn ]
MSB
' TEXAS
INSTRUMENTS
INTERNAL 5111an FOR DATA CAPTURE Mu MODES)
TEXAS
INSTRUM ENTS
TEXAS
INSTRUMENTS
’ TEXAS
INSTRUM ENTS
’ TEXAS
INSTRUMENTS
’ TEXAS
INSTRUM ENTS
’ TEXAS
INSTRUMENTS
i TEXAS
INSTRUM ENTS
’ TEXAS
INSTRUMENTS
TEXAS
INSTRUMENTS
TExAs
INSTRUMENTS
TExAs
INSTRUMENTS
‘ TEXAS
INSTRUMENTS
’ TEXAS
INSTRUMENTS
i TEXAS
INSTRUM ENTS
i TEXAS
INSTRUM ENTS
The USB
9 4-5-qu
§§
’ TEXAS
INSTRUMENTS
MM
TExAs
INSTRUMENTS
TEXAS
INSTRUMENTS
TExAs
INSTRUMENTS
’ TEXAS
INSTRUMENTS
TEXAS
INSTRUMENTS
TEXAS
INSTRUMENTS
u
C
’ TEXAS
INSTRUMENTS
TEXAS
INSTRUMENTS
i TEXAS
INSTRUM ENTS
i TEXAS
INSTRUM ENTS
i TEXAS
INSTRUM ENTS
i TEXAS
INSTRUM ENTS
i TEXAS
INSTRUM ENTS
i TEXAS
INSTRUM ENTS
i TEXAS
INSTRUM ENTS
1
1
INSTRUMENTS
{i} Tms
INSTRUMENTS
TExAs
INSTRUMENTS
TEXAS
INSTRUM ENTS
’ TEXAS
INSTRUM ENTS
’ TEXAS
INSTRUMENTS
TExAs
INSTRUMENTS
TExAs
INSTRUMENTS
<* a="">*><— —=""> D
D
D
% fix XXH H»
’ TEXAS
INSTRUMENTS
—>
TExAs
INSTRUMENTS
TExAs
INSTRUMENTS
’ TEXAS
INSTRUMENTS
8A2
‘ TEXAS
INSTRUMENTS
TEXAS
INSTRUM ENTS
TExAs
INSTRUMENTS
must be set to 000.
’ TEXAS
INSTRUMENTS
' TEXAS
INSTRUMENTS
TExAs
INSTRUMENTS
TEXAS
INSTRUM ENTS
TEXAS
INSTRUMENTS
TEXAS
INSTRUM ENTS
’ TEXAS
INSTRUMENTS
TExAs
INSTRUMENTS
TEXAS
INSTRUMENTS
‘ TEXAS
INSTRUMENTS
i TEXAS
INSTRUM ENTS
i TEXAS
INSTRUM ENTS
i TEXAS
INSTRUM ENTS
’ TEXAS
INSTRUMENTS
’ TEXAS
INSTRUM ENTS
TEXAS
INSTRUM ENTS
i TEXAS
INSTRUM ENTS
’ TEXAS
INSTRUM ENTS
’ TEXAS
INSTRUMENTS
’ TEXAS
INSTRUMENTS
’ TEXAS
INSTRUMENTS
’ TEXAS
INSTRUMENTS
i TEXAS
INSTRUM ENTS
i TEXAS
INSTRUM ENTS
i TEXAS
INSTRUM ENTS
i TEXAS
INSTRUM ENTS
’ TEXAS
INSTRUMENTS
’ TEXAS
INSTRUM ENTS
‘ TEXAS
INSTRUMENTS
’ TEXAS
INSTRUM ENTS
TEXAS
INSTRUMENTS
TEXAS
INSTRUMENTS
TEXAS
INSTRUMENTS
TEXAS
INSTRUMENTS
TEXAS
INSTRUMENTS
’ TEXAS
INSTRUMENTS
’ TEXAS
INSTRUMENTS
’ TEXAS
INSTRUMENTS
I
TEXAS
INSTRUMENTS
Samples
Samples
Samples
Samples
Samples
Samples
Samples
Samples
Samples
Samples
Samples
I TEXAS
INSTRUMENTS
I TEXAS
INSTRUMENTS
REEL DIMENSIONS TAPE DIMENSIONS
7 “KO '«m»
Reel
Diameter
AD Dimension destgned to accommodate the component with
ED Dimension destgned to accommodate the component \engm
K0 Dimenslun destgneo to accommodate the component thickness
, w OveraH wtdm loe earner tape
i p1 Pitch between successwe cavuy cemers
f
T Reel Width (W1)
QUADRANT ASSIGNMENTS FOR PIN 1 ORIENTATION IN TAPE
O O O D O O D D SprocketHules
,,,,,,,,,,, ‘
User Direcllon 0' Feed
Pockel Quadrams
I TEXAS
INSTRUMENTS
TAPE AND REEL BOX DIMENSIONS
,jign
@m
luv
, 4 f
CCCCECCCC a
\m 7 H
w i m
1 E {\W‘\““R““ M\
D % w r m
MW\ i m
w\ $333333};
7 E W i J
, y LET D
A
f8_,
¥
fifigmmfi _ T/#
E my a e ““““““
H i W H;
E ® 0 AW 0 ® ,
H E
Eflwé \mT Lliwlmw mm:
H
8
EU
BU
3?:
¢ 2?; O ,
8%H
gficb o
LJ—L‘b}
r, O O
{SEEN—7
4H4, 4—
+
I
MECHANICAL DATA
RSP (S—F’QFP—NSS) PLASTIC QUAD FLATF’ACK
m
mnnwmmmwm
Expo5ed The’mu‘ Die Pac /’/ m
0,30
\ aflkm W 9 mafia c
42c7so4/A 04/06
NO’ES' A. AH Hnec' dimensmrs c'e m m'Hmeters
I3 Th5 drawmq ‘3 same , a change wwtruut nohce
C o’N (mad Hctnuck Na Lead) Package cunfgumfiur
Ah T've package then'vu‘ vud 'ws: be so‘deved (u we Duuvd ‘1)! (heme and medumcu‘ pe"ovvvvc'vce
See me mam Data Sheet for dams regurcmg me expased thema‘ aaa d'mensions
‘4‘ TEXAS
INSTRUMENTS
www.li.com
’9 TEXAS THERMAL PAD MECHANICAL DATA
INSTRUMENTS
(SinQmiNB'é)
mm t (10"?
THERMAL \NFORMAUON
Th's package incorporates an exposed thermo pad 1th ts destgnec to be attached d'reezty to en externet
heutst'm. The theme pad rmsi be sotdered directty 10 the prt'rted ctch'tt board (DOB), After sotdert'rg. the
PCB ccn ac uscd as o hcutsnk t'v udc t'ton, th'ough the use at t'tc'mc‘ v05, t'tc tharr’vu‘ pcd can bc uttuchcd
drreetty to he aperepr'ate eepeer ptane saewn m the eteetrreet schemci'tc for he device, or ottemai'vey, cm be
attached :0 u spectut hemist'v'k stmctare destqhed tutu 1he PCB. This destq't upttm'zes t'te heut tvchsfev (mm the
tv’teqmied etreert (t0),
tar thtormutt'oh on the Guns Hutpuck Nerteaa (ow) package 0rd tis advantages, 'cfcr :e Apet‘reat‘raa ?cport,
OW/SOA PCB Attuc’vmcht‘ Tcxcs 'tsirtm‘chts tr'teratare Ne, Ste/mt. Th3 documcn: rs avartaete c: wwwtt.com
The exaosed thermut eaa dme'tstohs tar this package are S'town m the tcHuwthg tHust'oioh
X t 9
36 to ‘
/§
{a
3 t
3
i ,V
3,
i:
28: ts y
Bottom Vtew
NO’E: AH hncor d'tmcrst'crs 0'0 in thtmctcrs
Exposea The'mct Pad Dt'mer's'ons
4210152/A 03/09

