Accurate Power Measurement in Smart Meters, Part I: Design Considerations

By Lee H. Goldberg

Contributed By Electronic Products


Smart meters are advanced devices that identify energy consumption more accurately than conventional meters. They are designed to obtain information about when the energy was used, rather than just how much energy was used, and communicate this information to the local utility for power monitoring, billing, and other purposes (Fig. 1).

To meet the demands of advanced billing and energy management services, the MCUs driving today’s smart meters and sub-metering systems employ high-precision analog front end (AFE) circuits and sophisticated data processing software. But how much precision is really necessary for a particular application? Does the new crop of MCUs with integrated AFEs deliver sufficient accuracy for your application? Is it best to compensate for line perturbations that would otherwise distort the MCU’s measurements using hardware, software, or a combination of both? In this two-part series, we will share the answers to these questions and provide a roundup of the latest power measurement solutions.

Modern Smart Meters

Figure 1: Modern Smart Meters rely on sophisticated energy measurement ICs to accurately measure power consumption, provide tamper detection and, in some cases, sense power factor on a real-time basis (Courtesy of STMicroelectronics).

Smart grids need smarter meters

In addition to the immediate benefits of automated meter reading (AMR), utilities are moving to smart meters in order to enable advanced capabilities that allow them to run their generation and distribution networks more efficiently. The detailed data produced by smart meters enables fine-grained customer-side load management, better utilization of distributed energy resources, and so-called smart billing based on factors like time-of day, peak consumption levels, compliance with peak load management messages, and disturbances caused by reactive loads. Meanwhile, commercial and industrial customers are making increased use of intelligent sub-metering systems to help manage their loads and in turn, their utility bills.

In both cases, a new breed of energy measurement technologies is needed to provide an accurate time-based picture of both the quantity and quality of the power being delivered to the customer’s premises, as well as any disturbances the customer’s loads impose back on the grid.

Until recently, most smart power meter designs were based on a stand-alone AFE, configured and read by a separate MCU (Fig. 2). To insure maximum accuracy and minimize the potential for tampering, the MCU that reads the AFE is dedicated solely to this task and passes its results to a more powerful host MCU to deal with the remainder of the smart meter’s data processing and communication tasks.

Microchip Technology’s MCP3901 dual channel stand-alone AFE

Figure 2: Microchip Technology’s MCP3901 dual channel stand-alone AFE contains two synchronous sampling Delta-Sigma Analog-to-Digital Converters (ADC), two PGAs, phase delay compensation block internal voltage reference, modulator output block, and high-speed 20 MHz SPI-compatible serial interface.

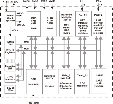
Things have changed over the last year or so as most of the major players in the smart meter IC market (including Analog Devices, Maxim, Microchip, and Texas Instruments) have introduced dedicated metrology processors, such as the devices in Texas Instruments’ MSP430AFE family (Fig. 3), which integrate an analog front end and a dedicated MCU. Mixed-signal devices often suffer from some level of digital noise that can affect their analog sensitivity, precision, and overall accuracy. Often the trade-offs are worth the lower cost and simplified implementation in applications that do not require the cutting-edge performance that a two-chip solution can deliver.

At the same time, IC manufacturers’ ability to integrate high-precision analog metrology continues to improve and meter performance requirements become increasingly well-defined, trends that will enable broader acceptance of single-chip metrology solutions. So while applications that require extreme precision will still use stand-alone AFEs, the lower solution cost and higher reliability offered by integrated AFE/MCU solutions will make them the “dominant species” within the mainstream smart meter market.

TI’s MSP430AFE family

Figure 3: TI’s MSP430AFE family integrates a 16-bit RISC CPU with three independent 24-bit sigma-delta converters and all the necessary peripherals for a metrology-grade analog front end (AFE) with anti-tamper capabilities and less than 0.1 percent error in energy accuracy over a wide (2400:1) dynamic range (Courtesy of Texas Instruments).

Although these new single- and dual-chip metrology solutions (and the reference designs that support them) greatly simplify smart meter design, there are still many issues to address. Among other things, the solution you choose will depend on how much precision/accuracy your application requires, the types of measurements the meter will be required to make in addition to basic power consumption, and the overall architecture your design will employ.

Precision decisions

The amount of precision required by utility and sub-metering applications varies greatly, but in general, utility-grade solutions require much higher accuracy (as tight as 0.1 percent error) and are required to conform to existing IEC or ANSI standards. In contrast, the sub-metering systems used for internal energy management and not involved with billing can deliver good results with less accuracy typically around 2 percent.

However, precision or accuracy in smart grid applications is a much more complicated question than simply how many bits with which to equip the AFE’s A/D converter. In part, this is because the AC voltage coming off the grid is not a pure 50 Hz or 60 Hz sine wave and contains a treasure trove of harmonics, phase, and impulse noise introduced during transmission and often from consumer equipment. To accurately measure a customer’s power consumption and any other impact they have on the grid, the AFE’s ADC must retain its linearity between half its line frequency and a kHz or so above it. At minimum, it is necessary to understand the effective number of bits (ENOB), Signal-to-Noise-and-Distortion Ratio (SINAD) ‎ or total harmonic (THD) value the ADC can actually deliver, regardless of the stated resolution.

For example, Microchip’s PIC18F87J72 smart meter MCU with 16-/24-bit ADC delivers up to 90 dB SINAD and -101 dBc THD (to 35th harmonic), making it capable of meeting the IEC class 0.5 percent specification. For applications requiring the higher accuracy a standalone AFE can deliver, Microchip’s MCP3901 (Single-Phase) and MCP3903 (3-Phase) deliver up to 91 dB SINAD / -104 dBc THD and are capable of 0.2 percent accuracy.

There are other issues that affect accuracy, including line perturbations that have the potential to distort the MCU’s measurements. Filtering out or compensating for this noise is accomplished with some combination of hardware and software, which varies according to the architecture of your design. In all cases, the PCB surrounding the AFE must be carefully laid out and its passives selected for resistance to noise and line perturbations. Software also plays a role in this effort, especially for factoring out small spikes that would otherwise corrupt measurement data. The type of analog converter used by the AFE also affects how much additional compensation it requires. For example, the delta-sigma based ADCs used in the AFEs of Microchip’s smart meter products and Maxim’s 71M654x and 71M6x01 smart meter chipsets provide a high degree of filtering for high frequency noise and other EMC-related issues (Fig. 4). Maxim’s design also includes on-chip AFE hardware functions such as dithering which increase the system’s overall noise immunity and eliminate the need for software-based cancellation.

Maxim’s 71M654x and 71M6x01 chipset

Figure 4: Maxim’s 71M654x and 71M6x01 chipset employs a Delta-Sigma AFE that reduces the impact of high frequency components and line noise on power measurement accuracy. It also supports optional interfaces to the Teridian 71M6x01 series of isolated sensors, which offer BOM cost reduction, immunity to magnetic tamper, and enhanced reliability.

Other considerations

Precision, accuracy, and noise immunity are only a few of the issues involved with energy measurement in smart meters. For example, the dynamic range across which the metrology element can deliver this level of accuracy is also a critical question. Wide dynamic range is another issue when a manufacturer wishes to use a single design across multiple platforms, each with its own set of different sensors and systems parameters. In these cases, a metrology element with wide dynamic range improves the flexibility of the subsystem design.

What is more, unlike most consumer goods, these meters will be expected to retain acceptable levels of accuracy across their entire service lifetimes, which can be 20 to 40 years or more. Another consideration is that, for some applications, customers may want to use the lowest possible current shunt value or employ transformer-based current monitoring techniques to further reduce losses.

As we have seen, as utility requirements grow, they are pushing more and more smart functions such as load demand response, tariff management, communication and other ‘must-haves’. In response, most smart meter architectures typically use a separate metrology block that partitions the data collection and processing functions from the MCU that handles the meter’s housekeeping and management functions. Until recently, most smart power meter designs also were based on a stand-alone AFE which is configured and read by a separate MCU. Now integrated AFE/MCU solutions are available with the choice often coming down to an accuracy/cost/performance decision.

In the second article of this series, we will examine current design practices and innovative silicon architectures that are helping address smart meter design issues. For more information on the products mentioned here use the links provided to access product pages on the DigiKey website.

References:
  1. IEC 62053 Electricity Meter Specification
  2. GB/T 17883-1999 Electricity Meter Specification
  3. Current-Transformer Phase-Shift Compensation and Calibration (TI App Note - SLAA122)
  4. MSP430 Family Mixed-Signal Microcontroller Application Reports (TI App Note - SLAA024)

Disclaimer: The opinions, beliefs, and viewpoints expressed by the various authors and/or forum participants on this website do not necessarily reflect the opinions, beliefs, and viewpoints of DigiKey or official policies of DigiKey.

About this author

Lee H. Goldberg

About this publisher

Electronic Products

Electronic Products magazine and ElectronicProducts.com serves engineers and engineering managers responsible for designing electronic equipment and systems.